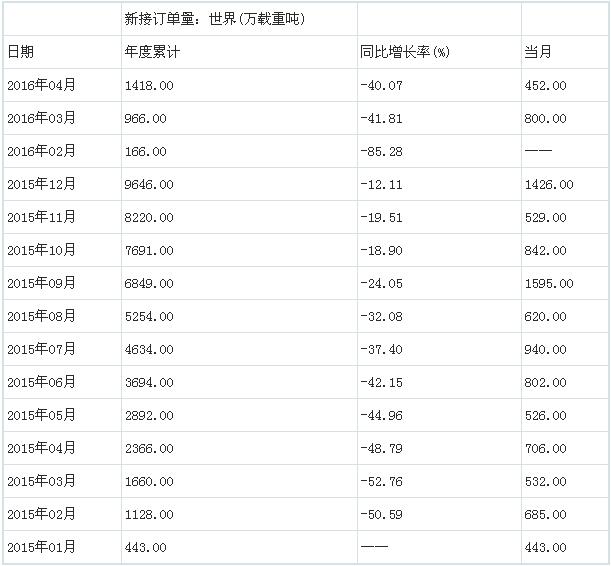
2016年4月船舶行业新接订单年度累计1418万载重吨
2016年4月船舶行业新接订单年度累计1418万载重吨,同比增长率-40.07%,当月452万载重吨。
以下为2015年1月至2016年4月船舶行业新接订单年度累计统计:


造船是指建造或制造船只的生产工业,一般是在一种专业设施造船厂里的船台或船坞中进行。造船本身应用的科技十分广泛,从船身到引擎的使用,造船技术可以分为几大类,包含船体(或称载台,此部份以基本设计及结构设计为主,依材质可再细分为钢船、铝合金船、玻璃钢船、水泥船、木船、皮、塑胶管筏等)、舣(如电子设备、航仪、家具、主机以外其他设备等)、轮机(船用主机,如蒸气涡轮机、气涡轮机、柴油引擎、核子反应炉等)及电机。
更多信息请关注复合材料信息网www.cnfrp.com








































