提高储氢有效容积——碳纤维复合材料(CFRP)长方体储氢罐
1.北京热塑性复合材料工程技术研究所
2.北京纳盛通新材料科技有限责任公司
3.中材科技股份有限公司
4. 深圳大学
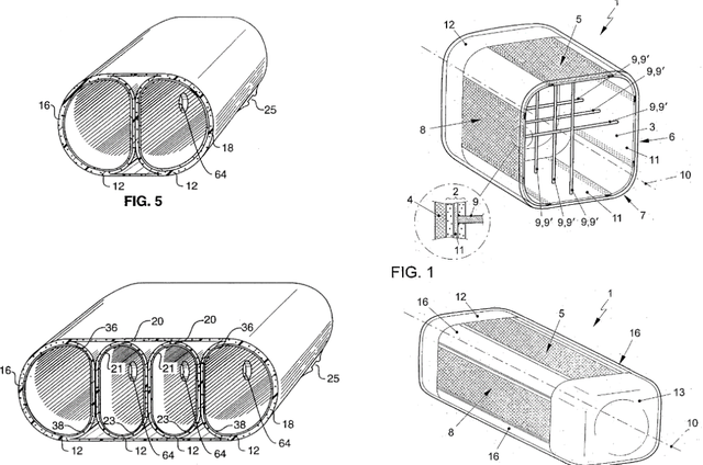
图1 慕尼黑工业大学开发的方形储氢罐
氢燃料电池是氢能利用的一种重要形式,具有充氢速度快、零排放无污染等特点。氢燃料电池可以作为汽车动力,能量转化效率超过60%。
与传统汽车相比,燃料电池汽车具有以下优势:
(1)零排放或接近零排放。
(2)减少了漏油造成的水污染。
(3)减少了温室气体的排放。
(4)燃料电池转换效率高(60%左右),整车燃油经济性好。
(5)运行平稳,无噪音。
氢燃料电池汽车(FCEV)进行燃料补给的速度更快,加氢就像加油一样,一般需要3-5分钟,但由于产量低,目前价格更昂贵。降低成本的一种方法是为BEV和FCEV车型使用一个标准平台。因为用于在FCEV中储存70Mpa氢气(H2)的IV储氢瓶不适用于BEV的车底电池外壳。然而,比起圆柱形高压容器,同样的空间可以容纳更多的枕形或者方形的压力容器。
图2 Thiokol Corp.(左)于1995年申请的专利,BMW于2009年申请的长方体压力容器专利(右)。
慕尼黑工业大学的复合材料中心参与了开发这一概念的两个项目。第一个是Polymers4Hydrogen(P4H),由奥地利Polymer Competence Center(PCCL)主导,LCC的工作由研究助理Elisabeth Gleis负责。
第二个项目是氢示范模型和开发环境(HyDDen),LCC工作由研究助理Christian Jäger负责。两个项目的目标都是使用碳纤维复合材料(CFRP)生产符合要求的可规模化生产的高压储氢罐示范产品。
P4H已经用热塑性树脂框架和复合张力带/支柱生产了一个概念型矩形储罐,外面包裹着碳纤维增强环氧树脂。HyDDen将采用类似的设计,但使用自动纤维铺设(AFP)生产全热塑性复合材料储罐。
图3 将小直径圆柱形气瓶装入扁平电池空间(左侧)和矩形压力容器(右侧),该压力容器由钢内衬和碳纤维/环氧树脂复合外包制成。
储罐的发展历程
从1995年Thiokol Corp的“复合适形压力容器”专利申请,到1997年德国专利DE19749950C2“可具有任何几何构型”的压缩容器,几十年来一直在研究适形罐的设计,使用连接到包层的空腔中的支撑元件,使得它们承受气体的膨胀力。
对储罐的设计的研究已经走过了数十年的岁月,从Thiokol Corp于1995年申请的“复合顺形压力容器”专利,到1997年德国专利DE19749950C2,用于压缩气体容器“可以具有任何几何构型”,但特别是扁平和不规则形状,在连接到外层的空腔中使用支撑元件,以便它们承受气体的膨胀力。
美国劳伦斯-利弗莫尔国家实验室在2006年的一篇论文描述了三种方法:缠绕成型压力容器、微晶格压力容器,包括正交晶格内部结构(单元的尺寸为2厘米或更小),其外部包裹着蒙皮以防止氢气的泄漏,以及复制容器,由粘合的小组件形成的内部结构(例如:六角形塑料环),复制血管最适合大尺寸,而传统技术可能难以应用。
大众汽车2009年申请的专利DE102009057170A,其中描述了一种用于安装在车辆中的压力容器,该压力容器将提供高的重量效率,同时能够提高空间利用率。矩形横截面储罐在两个矩形相对壁段之间使用抗张力连接件,同时拐角为圆形。
图4 带整体张力支柱的长方体储罐设计
为什么使用长方体储罐?
Gleis等人在ECCM20会议(2022年6月26日至30日,瑞士洛桑)上发表的论文《带张力支柱的立方体压力容器制造工艺的开发》中引用了上述概念以及其他方法。在那篇论文中,她引用了Michael Ruf和Swen Zarenba发表的TUM研究成果,该研究发现,与装在扁平电池空间中的多个小圆柱体容器相比,带有连接矩形侧面的张力支柱的长方体压力容器可增加大约25%的存储空间。
Gleis解释道,将许多小型IV型钢瓶包装在一个扁平外壳中钢瓶之间会损失大量的体积,而且还会增大氢气渗透表面积。总体而言,该系统提供的存储体积比立方形储罐少。”
长方体储罐
然而,长方体储罐设计也存在其他问题。格莱斯说:“很明显,你需要抵消由于加压气体而在平壁上产生的弯曲力。要做到这一点,你需要在内部连接到罐壁的加固结构。但这很难用复合材料制造。”
Gleis和她的团队试图在压力容器中集成加强张力支柱,以与纤维缠绕过程相配合。“这对于实现大批量生产非常重要,”她解释道,“它还允许我们设计容器壁中的缠绕模式,以优化每个区域中负载的纤维方向。”
图5 P4H项目概念验证长方体复合储罐制造的四个步骤
为了实现缠绕,团队提出了一个新的概念,该概念包括上面所示的四个基本步骤。张力支柱(在步骤中显示为黑色支柱)位于预制框架结构中,该结构使用MAI Skelett项目中的方法制成。在这个项目中,宝马开发了一个挡风玻璃框架的“骨架设计”,使用四根纤维增强拉挤条,然后将其包覆成型在塑料框架中。
Gleis说:“我们的想法是,可以把一个长方体的储罐骨架做成模块化结构,然后将这些模块放入二次成型工具中,将张力支柱放入骨架模块中,然后使用MAI Skelett方法在支柱周围注射模具,将其与骨架部分集成。”她补充道,这可能是一种有效的批量生产方法,从而形成一种结构,该结构随后将用作心轴或芯。
TUM将储罐骨架设计成一个长方体“枕头”,有实心的侧面、圆角和顶部和底部的六边形图案,通过这些图案可以插入和连接张力支柱。这些支柱的孔也是3D打印的。Gleis说:“对于我们最初的概念验证储罐,我们使用聚乳酸(PLA,一种生物衍生的热塑性塑料)3D打印了六边形骨架截面,因为它既简单又便宜。”。
该团队从SGL carbon(德国梅廷根)购买了68根拉挤碳纤维增强尼龙(PA6)棒,用作张力支柱。“为了证明这一概念,我们没有进行任何二次成型,”Gleis说,“而是简单地将支柱插入到3D打印的蜂窝骨架芯中,并使用环氧树脂粘合剂将其粘合。这样就提供了缠绕储罐的芯轴。”她注意到,尽管缠绕这些杆相对容易,但也存在重大问题,这将在后面描述。
“对于第一步,我们的目标是证明这种设计的可制造性,并揭示制造概念中的挑战,”Gleis解释道。“因此,张力支柱突出穿过骨架结构的外表面,我们使用湿纤维缠绕将碳纤维连接到芯上。之后,在第三步中,我们弯曲每个张力支柱的头部。因为支柱是由热塑性塑料制成的,所以我们简单地用热来重塑头部,使其变平并固定到第一层缠绕中。”然后,我们再次继续绕着结构缠绕,这样,拉伸支柱的扁平头部就被几何结构上封装在罐壁层压板内。”
图6 长方体储氢罐概念框架
锥体、重塑支柱和缠绕
Gleis重申,第一个储罐为了证明概念。“3D打印和粘合剂的使用只是为了初步验证,并让我们了解了我们所面临的几个挑战。例如,在纤维缠绕过程中,纤维卡在张力支柱的末端,这导致纤维断裂、纤维损坏和层压材料数量减少。为了解决这一问题,我们使用了一些塑料帽作为制造辅助工具,在第一个缠绕步骤之前将其放置在支柱上。然后,当内部层压板制作完成后,我们移除了这些保护帽,并在最后缠绕之前重塑支柱端部。
图7 用于缠绕的张力支柱盖。TUM在张力杆末端使用塑料帽,以防止纤维在缠绕过程中被卡住。
团队尝试了不同的重塑方案。“那些看起来圆形的效果最好,” Gleis说。“此外,在制作产品原型阶段,我们使用了一种改进的焊接工具来引入热量并重塑张力支柱端部。在批量生产时,将使用一个更大的工具,它可以同时将所有支柱端部成型并包覆成型到内壁层压板中。”
图8 重塑张力支柱端部。TUM试验了多种概念和改进的焊接头,用于压平复合张力支柱的端部,以实现在罐壁层压板中的锚固。
因此,在第一缠绕步骤之后固化层压体,重新成形支柱,TUM完成第二次纤维缠绕,然后对该外罐壁层压体进行第二次固化。注意这里,这是一种V型储罐设计,意味着它没有塑料衬里作为气体渗透的屏障。
Gleis说:“我们将第一个示范产品切割成横截面,并对连接区域进行成像,可以看到,在层压板质量方面存在一些问题,支柱头部没有平放在内部层压板上。”
图9 解决内外罐壁层压板之间的间隙问题
这款最初的450 x 290 x 80mm储罐于去年夏天完工。“从那时起,我们已经取得了很多进展,但我们仍然在内外层压板之间存在间隙,”Gleis说。“因此,我们尝试使用高粘度纯树脂来填充这些间隙。这实际上改善了支柱和层压板之间的连接,从而显著提高了机械负载能力。”
该团队继续开发储罐设计和工艺,包括所需缠绕模式的解决方案。Gleis解释道:“这个概念储罐的侧面没有完全缠绕,因为很难为这种几何体生成缠绕路径。我们最初的缠绕是75°,但我们知道需要多种模式来满足这个压力容器中的负载。我们仍在寻求解决方案,但目前市场上的软件尚不能满足。这可能是一个后续项目来完成。”
接下来的任务
“我们已经证明了这种制造理念的可行性,”Gleis说,“但我们需要进一步改进层压材料和重塑张力支柱之间的连接。我们现在正在做这项工作,并开发了一种在拉伸试验机中进行拉拔试验的方法,将支柱从层压材料中拉出,并测试这些连接可以承受的机械载荷。”
Polymers4Hydrogen项目的这一部分将于2023年底结束,Gleis希望在这一点上完成第二个示范储罐。值得注意的是,迄今为止的设计在骨架中使用了热塑性增强树脂,在罐壁中使用了热固性复合材料。这种混合方法将用于最终的示范样品。Gleis说:“我们在Polymers4Hydrogen项目中的合作伙伴正在开发具有更好阻氢性质的环氧树脂和其他复合基体材料。”她列举了两个合作伙伴——PCCL和坦佩雷大学(芬兰坦佩雷)。
HyDDen 项目
Jäger表示:“我们将为研究用无人机生产一种符合要求的复合压力容器。该项目将于2024年底完成,目前,我们接近于完成压力容器设计,这更多是关于航空航天与汽车两种解决方案之间的选择。在最初的概念阶段之后,下一步是进行详细的结构模拟,并预测罐壁结构的屏障性质。”
“整个想法是开发一种带有混合燃料电池和电池电力动力总成的无人机,”他继续说道。它将在高功率负载期间(即起飞和着陆)使用电池,然后在低负载巡航期间改用燃料电池。Jäger表示:“HT团队已经有了一架研究无人机,他们重新设计了动力系统,以同时使用电池和燃料电池。他们已经购买了CGH2储罐来测试这种动力系统。”
他解释道:“我团队的任务是建造一个符合要求的原型压力容器罐,扁平的储罐不会有这么大的风阻。这样,可以获得更好的飞行性能。储罐的尺寸大约为830 x 350 x 173mm。“
Jäger表示:“一个与Gleis想法类似的方法,在罐壁上施加张力支柱以补偿高弯曲力。然而,我们不是使用缠绕工艺制造储罐,而是使用AFP。因此,我们考虑创建压力容器的单个节段,该节段将具有已集成的支柱。这种方法允许我组合几个集成模块,然后在最终AFP铺层之前应用端盖,以封装所有组件。”
“我们正在努力最终确定这样一个概念,”他继续说道,“同时也开始测试选择材料,这对于防止氢气渗透非常重要。为此,我们主要使用热塑性材料,我们正在研究不同的材料将如何影响这种渗透行为以及AFP机器中的加工。重要的是要了解处理是否会产生影响,以及是否需要任何后处理。我们还想知道不同的叠层是否会影响氢气通过压力容器的渗透。”
该储罐将完全采用热塑性树脂,胶带材料由Teijin Carbon Europe GmbH提供。Jäger表示:“我们将使用他们的PPS(聚苯硫醚)、PEEK(聚醚醚酮)和LM PAEK(低熔点聚芳基酮)材料。然后,我们要比较一下哪一种最适合抗渗透性和生产性质zui佳的零件。”他希望在明年内完成测试、结构和工艺模拟,并完成首批样品。
参考文献
(1)Ginger Gardiner, TU Munich develops cuboidal conformable tanks using carbon fiber composites for increased hydrogen storage, CompositesWorld








































